DWロゴ icon CQ出版社のトップページへ戻る
CqREEKのページへ戻る

Windows対応RISCシステム開発パッケージ

CQ RISC評価キット/V821


V821とはどんなCPUか

特徴

○32ビットCPUコア
V810命令互換
1Kバイトの命令キャッシュ・メモリ内蔵
1クロック・ピッチのパイプライン
16ビット・データ・バス
内部4Gバイトのリニア・アドレス
汎用レジスタ 32ビット×32本
各種応用分野に適した命令群
(浮動小数点演算命令,ビット・ストリング操作命令)

○割り込み/例外
ノンマスカブル 外部入力1本
マスカブル 外部入力8本
      内部要因11種
4グループごとに優先順位を設定可能

○ウェイト・コントロール・ユニット
メモリ,I/O空間合わせて4ブロックのCS制御可能
各ブロックのリニア・アドレス空間 16Mバイト
ブロックごとに0〜7ウェイト挿入可能
バス・サイクル(Page-ROM,DRAM)の選択機能

○メモリ・アクセス制御機能
DRAMの高速ページ・モード対応
Page-ROMのページ・モード対応

○DMAコントローラ    2チャネル
最大転送回数 65536回
2種類の転送タイプ(フライバイ(1サイクル)転送,2サイクル転送)
3種類の転送モード(シングル転送,シングルチップ転送,ブロック転送)
プログラマブル・ウェイト機能

○シリアル・インターフェース
非同期式シリアル・インターフェース(UART) 1チャネル
同期式シリアル・インターフェース(CSI) 1チャネル
専用ボーレート・ジェネレータ内蔵

○リアルタイム・パルス・ユニット
16ビット・タイマ/イベント・カウンタ 1チャネル
タイマ出力 2本
16ビット・キャプチャ/コンペア・レジスタ 4本
16ビット・インターバル・タイマ 1チャネル

○ウォッチドッグ・タイマ機能

○クロック・ジェネレータ
PLLクロック・シンセサイザによる5逓倍機能

○スタンバイ機能
HALT,IDEL,STOPモード
クロック出力制御
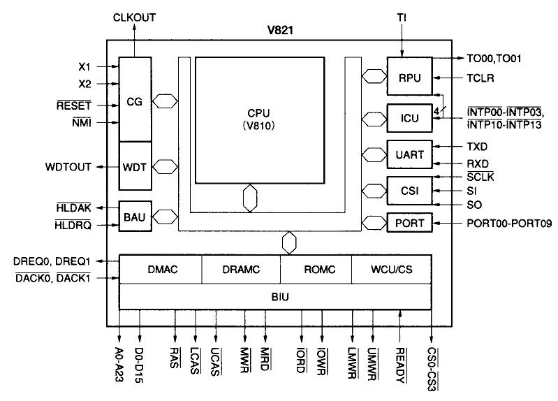
V821端子接続図

V821端子接続図



内部ユニット


(1)バス・インターフェース・ユニット
 アドレス・バス,データー・バス,コントロール・バスの端子制御を行います.
 CPU,DMACで起動されたバス・サイクルはWCU,DRAMC,DROMCなどを介して
 制御されます.

(2)ウェイト・コントロール・ユニット
 4本のチップ・セレクト信号(/CS0-/CS3)に対応する4個のブロックを
 管理します.
 チップ・セレクト信号の生成,ウェイトの制御,およびバス・サイクルの種類の
 選択を行います.

(3)DMACコントローラ(DRAMC)
 /RAS,/UCAS,/LCAS信号の生成(2CAS制御)とDRAMへのアクセス制御を
 行います.
 DRAMの高速ページ・モードに対応しており,DRAMへのアクセスには,
 通常アクセス(off-page)と高速ページ.アクセス(on-page)の
 2種類のサイクルがあります.

(4)ROMコントローラー(ROMC)
 ページ・アクセス機能付きROMへのアクセスに対応します.
 直前のバス・サイクルとのアドレス比較を行い,通常アクセス(off-page)/
 ページ・アクセス(on-page)のウエイト制御を行います.
 8-64ビットのページ幅に対応できます.

(5)割り込みコントローラー
 内蔵周辺ハードウェアおよび,外部からのマスカブル割り込み要求
 (/INTP00-/INTP03,/INTP10-/INTP13)を処理します.
 これらの割り込み要求は,4つのグループ単位ごとに優先順位を
 指定することができ,割り込み要因に対し多重処理を行うことができます.

(6)DMAコントローラ
 CPUの代りにメモリ,I/O間でのデータ転送を行います.
 アドレス・モードには,フライバイ(1サイクル)転送,2サイクル転送が
 あります.
 バス・モードには,シングル転送,シングルステップ転送,ブロック転送の
 3種類があります.

(7)シリアル・インターフェース
 V821には,シリアル・インターフェースとして,調歩同期式シリアル・
 インターフェース(UART)とクロック同期式シリアル・インターフェース(CSI)を
 各1チャンネル備えています.
 UARTは,TXD,RXD端子によりデータ転送を行います.
 シリアル・クロック・ソースは,ボー・レート・ジェネレータ出力とシステム・
 クロックから選択できます.

(8)リアルタイム・パルス・ユニット(RPU)
 16ビットのタイマ/イベント・カウンタと,16ビットのインターバル・タイマ
 を内蔵し,パルス間隔や周波数の計算,プログラマブルなパルスの出力が
 可能です.

(9)ウォッチドッグ・タイマ(WDT)
 プログラムの暴走,システムの異常などを検出するための8ビットの
 ウォッチドッグ・タイマを内蔵しています.ウォッチドッグ・タイマの
 オーバーフローにより,WDTOUT端子がアクティブになります.

(10)クロックジェネレータ(CG)
 X1,X2端子に接続された発振子の5倍(内蔵PLL使用時)または,1/2
 (内蔵PLL未使用時)周波数をCPUの動作クロックとして供給します.
 また,発振子を接続する代わりに外部クロックを入力することもできます.

(11)バス・アービトレーション・ユニット(BAU)
 各バス・マスタ(CPU,DRAMC,DMA,外部バス・マスタ)間でのバス使用権の調停を
 行います.
 バス使用権は,各バス・サイクルおよびアイドル・ステートにおいて
 切り替えることができます.

(12)ポート
 ポート0に合計10本の入出力ポートを備えています.ポート端子と
 コントロール端子の機能を選択して使用することができます.


 これらの商品に関するご質問はこちらへ………


Copyright CQ Publishing Co.,Ltd. 1997
edasupport@cqpub.co.jp