DWロゴ icon CQ出版社のトップページへ戻る
CqREEKのページへ戻る

Windows対応RISCシステム開発パッケージ

CQ RISC評価キット/PowerPC403



こちらの商品は品切れ絶版となりました.

PowerPC版の開発環境

■デバッガ(ソフトウェア・シミュレータ) SDS SingleStep
 CQ RISC評価キット/PowerPC403に付属するデバッガは実機デバッガではなく,シミュレーション・デバッガであるSoftware Development Systems,Inc.のSingleStep Version7.1(Demonstration License)を採用.

デバッガ1
デバッガ画面例1
デバッガ2
デバッガ画面例2


■コンパイラ MetaWare High C/C++
 コンパイラは,上記デバッガに同梱した,MetaWare IncorporatedのHigh C/C++ Version 3.50 for Embedded PowerPCを採用.

コンパイラ
コンパイラ画面



開発ソフトウェアについて

■コンパイラ&デバッガについて
 本キットに付属しているコンパイラ『High C/C++ for PowerPC』はMetaware Incorporatedの製品です.またデバッガ『SingleStep』はSoftware Development Systems, Inc.の製品です.このデバッガはソフトウェア・シミュレーション・デバッガと呼ばれるもので,Windows環境上でソフトウェアだけでPowerPCの動作をシミュレーションするものです.よって実機での動作のようすをデバッグすることはできません.実機デバッグを行うためにはCQ RISC評価キット/PowerPC403専用 JTAGポート対応 PPC403実機デバッガを用意しています.そちらを参照してください.
 これらのソフトウェアは,本キットのために特別に用意されたバージョンであり,これらのソフトウェアを使用してコンパイルされたプログラムおよびデバッガは,本キットのCPUボード上で動作させる場合に限り使用できます.
 これらのソフトウェアは,機能限定版として無償配布されているバージョンに若干の修正を加えたものであるため,デバッガやコンパイラの使い方などに関する質問やサポートは行えません.
 正式に『High C/C++ for PowerPC』のサポートを受けたいや製品を購入したい場合は,現在のMetaware Incorporatedの日本国内代理店である(株)ソフトボートにお問い合わせください.
 また,Software Development Systems, Inc.のデバッガ『SingleStep』は,日本では(株)エーアイコーポレーションが代理店となっています.製品を購入したい場合はこちらにお問い合わせください.

CQ RISC評価キット/PowerPC403ユーザーの皆様へお知らせ!!

■CPUボードに搭載されたOPENBIOSについて
 本キットのCPUボードに搭載されている『OPENBIOS』は米国IBMの製品で,このボードでのみ使用を許可されたバイナリ・コードのみのライセンスです.ソースコードの入手やサポートを受ける場合は日本IBMと契約を結ぶ必要があります.
 OPENBIOSの使い方に関する質問やサポートなどは,契約を結んでいない場合は受け付けられません.
 ただし,今後Interface誌ほかで,OPENBIOSを使った設計開発記事を順次掲載していく予定です(こちらのページを参照ください).これらの記事の中で,OPENBIOSの呼び出し方や戻り値などのフォーマットの詳細などが説明されます.これらの情報をもとにプログラムを開発されることについては,さらなる契約の必要性はありません.
 また,記事として掲載されたOPENBIOSの仕様や使い方についての情報は,定期的にまとめてInterface誌CD-ROM InterGiga,またはCqREEKのサポートページからダウンロードできるようにする予定です(こちらのページを参照ください).


開発環境とプログラム開発手順

■開発環境
 本製品に含まれる開発ツールには,大きく分けて次のような物が含まれます.

   コンパイラ&デバッガ
   ユーザ・プログラム・ダウンロード制御プログラム IODEMON.EXE
   OPENBIOSメニュー・ターミナル制御支援ツール

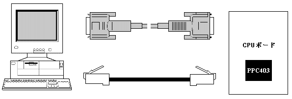
 また下図に示すように,CPUボードとホスト・パソコンをRS-232-CによるシリアルとEthernet両方を接続した環境でプログラムを開発します.シリアル通信ではOPENBIOSによるメニューを制御し,Ethernetは実際にユーザ・プログラムをダウンロードするために使用します.よってEthernetは必須です.

[図] 開発環境の概要
RS-232-Cケーブルはクロスケーブルを,Ethernetは直結する場合は10Base-Tのクロスケーブルを,HUB経由の場合はそれに合ったケーブルを使用

■開発手順
 すでに説明したように本製品には実機デバッガは付属していません.よってプログラム開発手順の流れとしては次のようになります.
 まずソフトウェア・シミュレーション・デバッガにより,ハードウェアに依存する部分を取り除いた部分のプログラムの流れやアルゴリズムを検証します.次にハードウェアに依存する部分を組み,実機にダウンロードして動作を見ることになります.
 この“実機にダウンロードする”という部分には,RS-232-C用ターミナル・ソフトウェアと,ユーザ・プログラム・ダウンロード制御プログラム IODEMON.EXE を使用します.ターミナル・ソフトウェアには,Windows95に標準で付属しているハイパーターミナルなどが使えます.ハイパーターミナル上ではダウンロードするユーザ・プログラムのファイル名などを入力するわけですが,これらのファイル名の入力の手間などを極力省くためのツールとしてOPENBIOSメニュー・ターミナル制御支援ツールを用意しています.



本製品の内容

 PowerPC403GA 搭載CPUボード ……… 1枚
 CD-ROM(以下の物を収録)………… 1枚
   デバッガ SDS SingleStep
   コンパイラ MetaWare High C/C++
   PowerPC403GA データシート&ユーザーズマニュアル
    (Adobe Acrobat PDFファイル:Acrobat Reader付属)
 PowerPC403 キット取り扱い説明書……1冊

注:本ボードを動作させるための「+5V/1A 程度の安定化電源」,および本ボードとパソコンを接続させるための「RS-232-C クロスケーブル」,「10Basse-Tケーブル(CPUボート直結の場合はクロスケーブル,HUB経由の場合はストレートケーブル)」は別途ご用意ください.パソコン側の RS-232-C ポートは,ポート1/ポート2のどちらでも使えます.

ソフトウェア動作環境

 マシン:PC/AT互換機
 OS:Windows95/98
 メモリ:16Mバイト以上
 HDD空き容量:25Mバイト以上


CPUボードのハードウェア仕様


 これらの商品に関するご質問はこちらへ………


Copyright CQ Publishing Co.,Ltd. 1997-1999
edasupport@cqpub.co.jp